Pompe pulvérisation adaptable Dynapac 4812110394

275,00  HT

Description

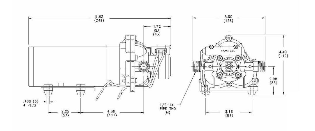
Pompe de pulvérisation adaptable pour compacteur Dyanapac

24V – 13 l/min – 3,4 bars

Service intense

 

 

Document produit: